L’Apple Watch, che piaccia o meno, è lo smartwatch più venduto del mercato. Parliamo di un terminale che ha conquistato milioni di utenti Apple, nonostante il suo design si avvicini poco a un classico orologio. La società di Cupertino infatti non è ancora riuscita a costruire uno smartwatch con schermo circolare, come ormai è moda del mercato, ma ha confermato anche con la serie 2 lo schermo rettangolare.
Un Apple Watch tondo nel futuro di Apple?
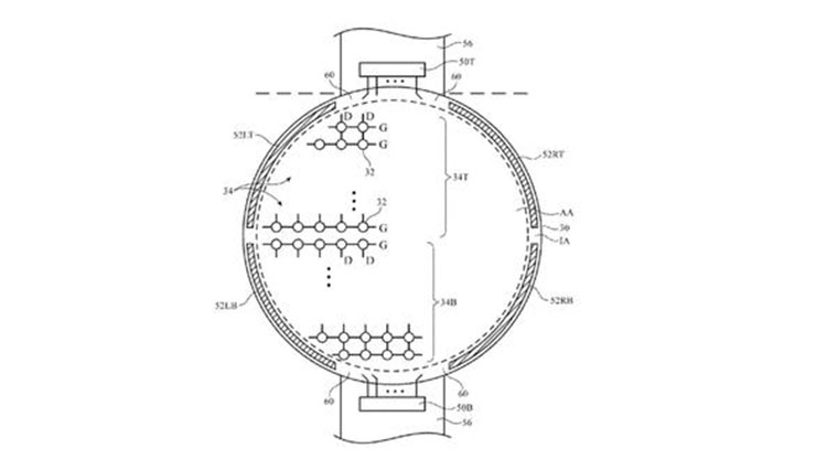
Le cose però potrebbero presto cambiare, proprio Apple ha infatti brevettato negli USA un nuovo display con bordi circolari, che con moltissima probabilità userà per l’Apple Watch del futuro. Samsung propone terminali tondi già da tempo, inoltre è appena uscito l’ottimo Samsung Gear S3, che somiglia in tutto e per tutto a un orologio classico, anche i cinesi come Huawei sono passati dal lato “circolare”.
Non sempre però i brevetti registrati diventano dispositivi veri e propri, Apple potrebbe anche aver registrato il tutto per semplice precauzione, anche se crediamo che un Apple Watch circolare sarebbe davvero affascinante, anche se difficilmente Cupertino realizzerà un prodotto “gigante” come l’ultimo Gear S3 di Samsung. Staremo a vedere.
Leggi anche: Tornano i prodotti (RED) di Apple per la lotta all’AIDS
